LOCAT Oxidation Process

By | September 19, 2009

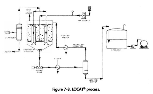
The LOCAT® process is a liquid phase oxidation process based on a dilute solution of a proprietary, organically chelated iron in water that converts the hydrogen sulfide to water and elemental sulfur. The process is not reactive to CO2. A small portion of the chelating agent degrades in some side reactions and is lost with the precipitated sulfur. Normally, sulfur is separated by gravity, centrifuging, or melting.

Figure 7-8 represents a process flow diagram of the LOCAT® process. The H2S is contacted with the reagent in an absorber; it reacts with the dissolved iron to form elemental sulfur. The reactions involved are the following:

cal-7-15

LOCAT® process.

The iron, now in a reduced ferrous form, is not consumed; instead, it is continuously regenerated by bubbling air through the solution. The sulfur precipitates out of the solution and is removed from the reactor with a portion of the reagent. The sulfur slurry is pumped to a melter requiring a small amount of heat and then to a sulfur separator where the reagent in the vapor phase is recovered, condensed, and recycled back to the reactor.

LOCAT® units can be used for tail-gas clean-up from chemical or physical solvent processes. They can also be used directly as a gas sweetening unit by separating the absorber/oxidizer into two vessels. The regenerated solution is pumped to a high-pressure absorber to contact the gas. A light slurry of rich solution comes off the bottom of the absorber and flows to an atmospheric oxidizer tank where it is regenerated. A dense slurry is pumped off the base of the oxidizer to the melter and sulfur separator.

One thought on “LOCAT Oxidation Process

  1. Sreelatha Sreejit

    Is the LOCAT process sensitive to 02 or N2 in the feed gas stream ?

    Reply

Leave a Reply

Your email address will not be published. Required fields are marked *