Wellhead Flash Gas Recovery

By | October 10, 2009

For each barrel of natural gasoline condensate collected in storage, roughly 1,300,000 BTU’s worth of gas is flashed-off from the low pressure three phase separator. This assumes that the high pressure separator is operating at 1000 psig and the low pressure separator is running at 50 psig. In addition to being environmentally reprehensible, this venting waster $400 per day of recoverable gas on a well that is producing 100 BSD of condensate.

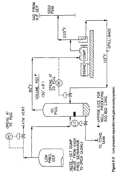
Figure 3—3 illustrates a system to recover these vented hydrocarbons. Both a volume pot and a suction pressure spill back control loop are needed to even out surges in gas flow produced when the high pressure separator dumps liquid into the low pressure separator. The action on the high pressure separator’s liquid dump valve should be slowed down. The compressor net discharge gas is best injected hot into the gas production line. This is done to prevent the recondensation of the recovered vapors in the compressor aftercooler or in the cooler natural gas product. The gas flowing into the spill-back loop must, however, be cooled to avoid overheating the compressor suction.

Typically, the compressor suction spill-back is set to open at 20 psig; while the atmospheric gas vent will open at a pressure of 70 psig. It is a little difficult to precisely size these vent gas recovery compressors. A rough rule of thumb is to calculate the compressor horsepower and suction volume based on the average gas rate at 40 psig. Then double both these calculated values for the final compressor sizing.

Remember that this vent gas recovery installation will only be needed for a year or two. As wellhead pressure and condensate rates fall, the economics of continued compressor operation will diminish.

Low pressure separator vent gas recovery system

Leave a Reply

Your email address will not be published. Required fields are marked *